被抢注的AppleVision商标已被驳回!

阅读:1228 2023-06-19 09:56:21

6月6日凌晨的2023苹果全球开发者大会上,苹果首款增强现实产品Vision Pro正式发布。库克称,Vision Pro是一种全新的AR平台和一种革命性的产品。

图片

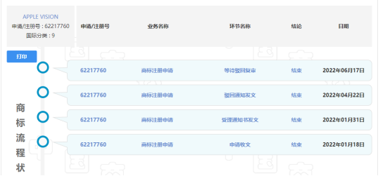
但是据小编了解到情况是 “APPLE VISION ”9类商标已在2022年1月18日以被杨某申请。

图片

不过日前商标的状态是已经显示驳回的,所以杨某申请的“APPLE VISION”9类商标是没有成功的。如果注册成功,往后的结果可想而知。

图片

所以说在竞争日益激烈的今天,商标是无形的财产,是信誉的载体。以可靠的产品质量为基础,会使其商标声名远播,不断升值,使企业的经济效益越来越好。甚至其产地的行政区划名称不为人们所知晓,而其商标名称则广为人们所熟知。从这个意义上讲,注册商标是无价之宝,是无形的财富。企业要想做大做强,商标是必不可少的条件,所以企业在做新的产品是商标也要提前跟进,避免防止他人抢注自己的品牌。

注册商标的好处小编列出以下几点:

1、产品注册商标可以提高企业的竞争力,树立品牌的良好形象,提高品牌在消费者心中的地位。

2、商标就是产品的象征,有了商标的产品才能让消费者放心购买,才能得到消费者的认可购买。

3、商品有了商标才能去推广和抢占市场份额,实践表明只有注册商标的产品的企业才能后做大做强。


4、在知识产品特别被重视的今天,商标其实就是无形的资产,能给企业带来众多的好处和利益。

5、商品一旦成功注册商标,这在法律上就是收到保护的,别人冒用你的商标是可以追究其法律责任。

6、商标不仅是知识产权的象征,即使是自己不想用这个商标也是可以进行转让或者和别人合作的。

相关文章
{{ v.title }}
{{ v.description||(cleanHtml(v.content)).substr(0,100)+'···' }}
你可能感兴趣
推荐阅读 更多>
推荐商标

{{ v.name }}

{{ v.cls }}类

立即购买 联系客服